Главная   Читальня  Ссылки  О проекте  Контакты 

Э. Хансен. Экономические циклы и национальный доход > Глава 10. Функция потребления и мультипликатор

Потребление и доход

В предшествующей главе мы подвергли анализу факторы, определяющие инвестиции. Инвестиции, как мы уже отмечали, представляют собой весьма динамичный компонент национального дохода и служат барометром в предсказании наступления переломных моментов в цикле. Если инвестиции поднимаются до высоких уровней, то доход и занятость тоже увеличиваются, но в умноженном размере. Увеличение производства и занятости в отраслях, производящих капитальные блага, увеличивает доходы рабочих, служащих и акционеров этих отраслей. И этот прирост дохода и покупательной способности увеличивает спрос на потребительские товары. Тем самым и в отраслях, производящих потребительские товары, в свою очередь происходит возрастание дохода и занятости. Первоначальное увеличение объема инвестиций оказывает, таким образом, воздействие, распространяющееся на всю экономику, вызывая рост дохода, превышающий на некий множитель размер приращения инвестиций.

До какой степени будет возрастать доход в результате данного увеличения объема инвестиций — таков вопрос, который мы рассмотрим в этой главе. Ответ на него может быть получен только путем анализа поведения потребителей.

График отношения потребления к доходу

Если доход потребителей возрастет, то они станут больше тратить на потребительские товары, а также больше сберегать. Существуют ли более или менее прочные, имеющие всеобщее значение особенности поведения, определяющие пропорцию, в которой потребители распределяют свой доход между затратами и сбережениями в условиях возрастания или падения дохода? Меняется ли соотношение между затратами и сбережениями в тех случаях, когда доходы движутся от низких уровней к высоким или от высоких уровней к низким?

Другими словами, каково отношение затрат (т.е. расходов на потребление) к доходу при различных уровнях дохода? График, показывающий размеры затрат на потребительские товары при различных объемах дохода, мы будем называть графиком отношения потребления к доходу. Во всех случаях, когда две переменные — например, потребление и доход — связаны между собой некой регулярной и устойчивой связью (т.е. если дано, что при изменении одной переменной другая переменная изменяется неким устойчивым образом), мы имеем перед собой то, что именуется "функцией". Мы говорим тогда, что между этими двумя переменными имеется функциональная зависимость. Если переменная величина А определяется переменной величиной В, то мы называем А зависимой переменной и В — независимой переменной. Мы имеем тогда право утверждать, что А является функцией В; другими словами, всякий раз, когда В изменяется, А будет изменяться неким устойчивым образом. "Устойчивым образом" — это не означает, однако, что при всех уровнях В всякое изменение В будет непременно вызывать изменение А в той же самой пропорции. Но оно означает все же, что отношение А к В не является случайным, нерегулярным или совершенно не поддающимся предсказанию. График (или кривая), показывающий отношение А к. В при различных уровнях В, будет раскрывать характер изменений А по отношению к В при всех числовых значениях В. Если А является функцией В, то с изменением В А будет изменяться неким довольно устойчивым образом. Характер этих изменений, представленных в форме диаграммы, будет выявляться формой кривой, связывающей эти две переменные. Кривая может быть или может не быть линейной, но какова бы ни была ее форма, она тем не менее может быть устойчивой.

Статистика не в состоянии обнаружить, какая из двух переменных является зависимой и какая — независимой. Это должно быть установлено при помощи общих суждений, т.е. путем теоретического анализа. Справедливо будет считать, что размер потребительских расходов определяется главным образом уровнем текущего дохода или, возможно, уровнем дохода, полученного в недавнем прошлом. Впрочем, если уровень дохода изменится внезапно, то потребление, надо думать, не подвергнется значительному изменению, особенно в тех случаях, когда имеются основания полагать, что новый уровень дохода долго не удержится. С другой стороны, если новый уровень дохода сохранится в течение значительного времени, то уровни потребления будут приведены в соответствие с новым уровнем дохода и потребление увеличится. Говоря о "функции потребления" (графике, выражающем отношение потребления к доходу), мы отвлекаемся от явлений кратковременного отставания. Уровень потребления, показываемый в графике отношения потребления к доходу, — это потребительский расход, который будет произведен при каждом уровне дохода, если предположить, что этот уровень дохода существует на протяжении достаточно продолжительного времени. Функция потребления представляет собой, другими словами, график, показывающий, сколько будет затрачиваться на потребительские товары при различных длительно существующих уровнях дохода. Это график, выражающий более или менее устойчивое поведение общества в отношении потребительских затрат при различных уровнях дохода.

Если обратиться к хорошо знакомому нам графику зависимости спроса от цены, то в нем предполагается, что прочие факторы — цены конкурирующих товаров, вкусы потребителей и предпочтение, оказываемое ими одним видам товаров по сравнению с другими, и т.д. — остаются неизменными. Смещение, например, графика спроса вверх выражает собой глубокое изменение в предпочтении, оказываемом различным видам товаров, или возникновение более желательных или более дешевых заменителей. Кривая спроса, или график спроса, представляет собой отношение одной переменной к другой на протяжении "периода", в пределах которого все прочие переменные предполагаются неизменными. Такие гипотетические графики носят крайне отвлеченный характер, поскольку из множества факторов, постоянно изменяющихся в нашем весьма динамичном мире, они стремятся выделить ту единственную переменную (или самое большее — те немногие переменные), которая рассматривается как существенный детерминант в отношении другой переменной. Подобные графики при всей их абстрактности все же полезны для теоретического анализа, особенно в тех случаях, когда выделенные переменные имеют преобладающее значение и когда прочие факторы изменяются довольно медленно. При этом, однако, должны быть приложены максимальные усилия к тому, чтобы принять в расчет все имеющие значение переменные и, насколько это возможно, внести поправки на изменения, стремящиеся нарушить изучаемую нами функциональную зависимость. Исследователи, занимающиеся эконометрикой, фактически все больше и больше работают над такими именно проблемами.

Функция потребления и в сущности любая функциональная зависимость, относящаяся к области экономики, является, конечно, крайней абстракцией. Всякое явление экономической жизни находится в зависимости от всех других экономических явлений. Но эта формула, хотя она и верна, не очень содержательна. Назначение экономической теории сводится к тому, чтобы выделить определенные, крайне важные переменные и показать, каковы главные факторы, определяющие события экономической жизни. Когда говорят, что спрос определяется ценой, то этим хотят сказать не то, что одна лишь цена определяет спрос, а то, что цена является главным детерминантом спроса. И график, точно выражающий воздействие изменений цен на спрос, строится таким образом, что все прочие факторы предполагаются неизменными, или же таким образом, что нарушающие влияния предварительно элиминируются посредством статистических приемов. С помощью этого метода создается возможность сосредоточить анализ на одном важном детерминанте спроса, а именно на цене рассматриваемого товара. Так, например, мы говорим для краткости, что спрос на пшеницу определяется ценой пшеницы, хотя в действительности мы отлично знаем, что он определяется также ценами на овес, на рожь и т.д. [Мы могли бы это выразить следующим уравнением, в котором р1 обозначает цену пшеницы, р2 — цену овса и р3 — цену ржи, a D — объем спроса на пшеницу; D = ψ(р1, р2, р3, и т.д.)]

Виды графиков потребления

Существует возможность составления двоякого рода графиков, показывающих отношение потребления к доходу: (1) графика потребления, основанного на семейных бюджетах, и (2) графика потребления, основанного на временных рядах. Первый составляется на основе изучения семейных бюджетов; второй — путем изучения статистических данных о национальном доходе, вроде тех, какие рассматривались в гл. 6. Первый представляет собой моментальный снимок, сделанный в один-единственный отрезок времени — в тот период, когда производилось изучение семейных бюджетов. Этот график раскрывает перед нами ряд уровней семейных доходов, от низших до высших, и показывает, сколько тратится на потребление при различных уровнях семейного дохода. Основой графика второго вида является временной ряд, который показывает, меняющиеся с каждым годом уровни дохода и потребительских расходов на протяжении целого экономического цикла или нескольких циклов. Он дает ряд уровней национального дохода, охватывающий много лет, и показывает, сколько затрачивалось на потребительские товары при каждом из этих уровней дохода.

График семейных бюджетов

Рассмотрим сперва график семейных бюджетов или "функцию семейного потребления". На рис. 40 мы приводим данные о доходах и потреблении различных семей, базирующиеся на выборочном изучении бюджетов городских семей в шестидесяти двух городах, разбросанных по всей территории Соединенных Штатов; эти изученные семейные бюджеты охватывают все двенадцать месяцев 1941 г. [Family Spending and Saving in Wartime // Bulletin № 822. Bureau of Labor Statistics. U.S. Department of Labor. P. 194-195.] Семейный доход отсчитан на горизонтальной оси; он колеблется между суммой в 367 долл., составляющей средний доход низшей группы семей, и суммой в 14 933 долл., составляющей средний доход высшей группы, включенной в это исследование. Потребительские расходы отсчитаны на вертикальной оси. Участок диаграммы, расположенный ниже кривой А, изображает объем потребления, а участок, расположенный между кривой А и кривой В, изображает излишек дохода над потребительскими расходами. Эта часть дохода составила сбережения или была использована для всякого рода даров и пожертвований и для уплаты налогов. Цифры приводятся в табл. 17.

Таблица 17

Семейные доходы и использование дохода в Соединенных Штатах за 1941 г. (в долл.)

Разряд семей по размеру дохода Средний доход по данному разряду Потребительские расходы Сбережения Дарения, пожертвования и налоги
Менее 500367512013
500-1000752783026
1000-150012451222044
1500-200017531705969
2000-2500223920798592
2500-30002737257988104
3000-500036743260273182
5000-1000062905011929362
10 000 и выше14933875246581783

Можно заметить, что в двух самых низких разрядах расходы превышали доход. Только там, где средний доход на семью достигал 1245 долл., расходы уравновешивались доходом. Таков был "безубыточный" уровень. Сверх этого уровня начинается образование сбережений, и в более высоких группах дохода они быстро нарастают. Возможность превышения расходов над текущим семейным доходом, наблюдавшегося у нижних групп, объясняется наличием государственных пособий, помощи, оказанной благотворительными организациями и родственниками, потребительского кредита и использованием прошлых сбережений.

Рис. 40. График потребления, основанный на данных семейных бюджетов

Источник: Family Spending and Saving in Wartime // Bulletin № 822.U.S. Department of Labor. Bureau of Labor Statistics. P. 197.

По рис. 40 можно заключить, что с ростом дохода потребление увеличивается; но вместе с тем он показывает, что степень увеличения потребления никогда не достигает степени возрастания дохода. При среднем доходе, не достигающем 1245 долл., потребление превышает доход; но за пределами этого уровня дохода разрыв между потреблением и доходом становится все шире и шире. Впрочем, до уровня дохода в 5 тыс. долл. линия, обозначающая потребление, поднимается довольно круто, т.е. потребление увеличивается почти столь же резко, что и доход. При уровнях дохода, превышающих 5 тыс. долл., разрыв между потреблением и доходом становится очень большим. Общий вывод таков, что с ростом дохода растет и потребление, но в меньшей степени, чем доход.

График временного ряда

Мы переходим сейчас к рассмотрению графика временного ряда (или "циклической функции потребления"), основанного на данных о национальном доходе, охватывающих много лет. При составлении графиков этого вида нас интересует вопрос о том, каковы изменения совокупного объема потребления целой страны в тех случаях, когда совокупный национальный доход движется от низких уровней к высоким, как это бывает в течение фазы подъема большого экономического цикла. А когда мы имеем дело с различными фазами экономического цикла, возникает вопрос о характере циклического отношения потребления к доходу, вопрос о циклических изменениях соотношения между совокупным потреблением и национальным доходом. Мы исходим при этом из предположения, что для каждой фазы цикла можно обнаружить типичный характер изменений соотношения между потреблением и доходом. Принято думать, что этот циклический характер изменений потребления по отношению к доходу имеет фундаментальное значение.

Объем потребления определяется не только размером дохода, но также частично особенностями той Стадии цикла, на которой этот доход получается. Мы имеем здесь в виду относительно кратковременные изменения. В фазу процветания, коща происходит увеличение дохода, может случиться так, что потребительские расходы не сразу поднимутся до нормального соотношения между потреблением и доходом, которое существовало бы в том случае, если бы доход оставался на этом новом уровне в течение значительного времени. Здесь, вероятно, будет иметь место известное отставание расходов от роста доходов. Мы можем, таким образом, провести различие между "циклическим" характером отношения потребления к доходу и "чистой" функцией потребления. Последняя дает нам нормальное отношение потребления к доходу без учета каких-либо отставаний во времени. Можно считать в известной степени доказанным, что периоды отставания движения потребления от движения дохода действительно существуют; это особенно относится к поворотным пунктам цикла, высшему и низшему.

Рассмотрим вначале "чистую" функцию потребления, которая не учитывает отставания во времени. Здесь предполагается, что при каждом уровне дохода потребление сохраняет свое нормальное отношение к доходу. Предполагается, другими словами, что при каждом уровне дохода потребление пребывает на уровне, который был бы достигнут в том случае, если доход оставался бы на данной высоте достаточно долго для того, чтобы потребители имели время отрегулировать свои затраты в соответствии с их нормальной склонностью к потреблению. Потребление тем самым соответствует при каждом уровне дохода обычному поведению общества.

"Чистая" функция потребления не может быть представлена графиком, составленным на основе нескорректированных статистических рядов потребления и дохода, в том виде, в каком их можно найти в статистических материалах, относящихся к любому экономическому циклу. Существует, с одной стороны, вероятность, что первичные данные подверглись искажающему влиянию изменений цен. В результате повышения цен реальный доход может остаться неизменным, несмотря на удвоение денежного дохода. Если временные ряды за период цикла отражают только изменения цен, то нет разумного основания предполагать (при отсутствии отставаний во времени заработной платы от движения цен), что отношение потребления к денежному доходу должно было измениться. Если, однако, имело место реальное увеличение дохода, то в этом случае можно было бы ожидать, что потребление должно было возрасти в меньшей степени, чем доход. Аналогичное суждение применимо и к другому случаю. Если рост национального дохода был обусловлен только ростом населения и не сопровождался никаким изменением реального душевого дохода, то не существует разумных оснований ожидать изменения отношения потребления к доходу. Увеличение населения на 10 % не означало бы 10-процентного увеличения реального душевого дохода. Изменения отношения потребления к доходу можно было бы ожидать только в том случае, если бы произошло увеличение реального душевого дохода. Вот почему для получения "чистой" функции потребления надлежит внести поправки на изменения цен и на рост населения.

Функция потребления представляет собой "обратимую аналитическую зависимость", а не просто "историческое описание прошлых событий" [См. Samuelson PA. (приложение к гл. 9) в книге Hansen A.H. Fiscal Policy and Business Cycles. W.W. Norton and Company, 1941.]. Первичные данные не обнаруживают поэтому истинного циклического характера отношения потребления к доходу. В них имеются искажающие картину элементы, в том числе изменения цен и численности населения и явления отставания во времени.

Средняя и предельная склонность к потреблению

Рис. 41. Функция потребления

На рис. 41 изображена в форме диаграммы чистая функция потребления без явлений временного отставания и с поправками на изменения цен и численности населения. Рисунок 41 имеет чисто иллюстративное назначение. На нем показаны два графика (две функции). График А представляет собой прямую линию, вычерченную под углом 45° от горизонтальной базисной линии. Страна, в которой функция потребления имела бы форму, подобную графику А, расходовала бы при всех уровнях дохода весь свой доход на потребительские товары. Это означает, что при любом уровне дохода отношение совокупного потребления к совокупному доходу всегда равно единице, или с/Y=1. Другими словами, "средняя склонность к потреблению", представленная с/Y, равна единице. Больше того, в случае, изображенном графиком А, любое приращение дохода ΔY всегда будет вызывать такое же по величине приращение потребления ΔС. Другими словами, "предельная склонность к потреблению" (т.е ΔC/ΔY) в этом случае также будет равна при всех уровнях дохода единице.

В случае, изображенном графиком В, дело обстоит совсем иначе. Здесь при каждом приращении дохода потребление увеличивается только на две трети этого приращения. Ибо наклон кривой таков, что при каждых трех единицах прироста дохода потребление увеличивается на две единицы. Следовательно, ΔС/ΔY = 2/3, как это обозначено на диаграмме (в треугольнике). А так как график В представляет собой прямую линию, предельная склонность к потреблению ΔC/ΔY всегда составляет 2/3 при всех уровнях дохода. Если, однако, линия наклонилась бы вправо (т.е. выравнялась бы по направлению к обрезу чертежа), то предельная склонность к потреблению становилась бы при повышающихся уровнях дохода все меньше и меньше.

Но если предельная склонность к потреблению выступает в условиях, представленных графиком В, величиной постоянной (а именно 2/3) при всех уровнях дохода, то средняя склонность к потреблению C/Y изменяется при каждом урoвне дохода. При доходе, равном 70, C/Y= 1; при доходах, не достигающих этого уровня, она больше единицы, а при доходах, превышающих этот уровень, она меньше единицы. Числа эти представлены в табл. 18.

Таблица 18

(График B)

YCC/YΔC/ΔY
7070,01,0000,67
8076,60,9550,67
9083,30,9250,67
10090,00,9000,67

Следует подчеркнуть, что именно наклон графика (при различных уровнях дохода) показывает, какова предельная склонность к потреблению ΔC/ΔY при каждом уровне дохода. Если график представляет прямую линию, то предельная склонность к потреблению остается неизменной при всех уровнях дохода. Если график изгибается вправо, то с возрастанием дохода предельная склонность падает. Чем круче наклон, тем выше предельная склонность, к потреблению.

В отличие от этого средняя склонность к потреблению, существующая при различных уровнях дохода, определяется как наклоном, так и уровнем графика. Чем выше расположен график 5. по отношению к линии, проведенной под углом 45° (рис. 41), тем выше будет C/Y, средняя склонность к потреблению, при всех уровнях дохода. Если наклон графика относительно ровен, то с возрастанием дохода средняя склонность к потреблению C/Y будет падать резко; если график имеет относительно крутой наклон (приближаясь к линии, проведенной под углом 45°), то при возрастании дохода C/Y будет падать очень медленно.

Колебания во времени

Рисунки 40 и 41 показывают функциональную зависимость потребления от дохода при различных уровнях дохода. Доход отсчитан на горизонтальной шкале, а потребление на вертикальной; кривая (или график) связывает эти две переменные. Рассмотрим вначале движение потребления и дохода во времени, от фазы депрессии до вершины бума. Рисунок 42 изображает изменение отношения потребления к доходу во времени. В этом случае на горизонтальной шкале отсчитано время, а потребление вместе с доходом отсчитано на вертикальной шкале. Предполагается, что данные, относящиеся к потребительским расходам, равно как и данные о доходах, скорректированы на изменения цен. В течение немногих рассматриваемых здесь лет никаких значительных изменений численности населения не произойдет. Другими словами, данные о потреблении и национальном доходе берутся здесь применительно к реальным условиям. При этом отставания во времени не элиминируются, так как они могут играть важную роль в историческом процессе формирования дохода.

Анализируя рис. 42, следует отметить, что до "года 2" потребление С превышает доход Y. Это означает, что общество потребляет больше, чем дает текущее производство, покрывая дефицит за счет заимствований из товарных запасов и за счет истощения капитальных благ, замещение которых происходит не в полной мере. Разнице между потреблением и доходом здесь соответствуют, следовательно, отрицательные величины сбережения и инвестирования. За пределами "года 2" объем дохода становится больше объема потребления и разница между ними выступает под одним углом зрения как инвестирование, а под другим углом зрения — как сбережение.

Рис. 42. Колебания потребления и дохода (Y-С) =I = S

В этой упрощенной модели доход равен инвестициям плюс потребление (Y = I + С). Но сбережение есть та часть дохода, которая не затрачена на потребительские товары. Отсюда Y - С = S. Следовательно, S = I, если только все обозначения применяются к одному и тому же периоду времени.

В "году 2" доход и потребление равны друг другу и инвестиции поэтому равны нулю. Если инвестиции, начиная с этого времени нарастать, доходят в "году 4" примерно до 10 млрд. долл., то потребление увеличивается за это время по условиям модели на 20 млрд. долл. Доход поэтому увеличивается на 30 млрд. долл. Вызвав увеличение потребления, инвестиции в размере 10 млрд. долл. повлекли за собой увеличение дохода с множителем, равным 3.

На интервале от точки "год 1" до точки "год 4" диаграмма, изображающая движение во времени, или "временная" диаграмма (рис. 42), обнаруживает обманчивое сходство с функцией потребления (рис. 41). Но эти две диаграммы не одно и то же, и их не следует смешивать. "Временная" диаграмма показывает совместный рост и совместное падение потребления и дохода и раскрывает их взаимоотношение, как оно складывается из года в год. Функциональная диаграмма показывает доход на одной оси и потребление на другой оси. Последняя раскрывает обратимую аналитическую зависимость; первая же представляет собой историческое изображение совершающихся из года в год движений потребления и дохода.

Периодоанализ

Рисунок 42 изображает процесс, беспрерывно протекающий во времени. Разобьем в целях анализа интересующий нас промежуток времени на отдельные последовательные периоды. Будем исходить из крайне абстрактного допущения, что в пределах каждого периода доход, потребление, инвестирование и сбережение остаютcя на неизменных уровнях. Изменения происходят только между периодами, но не в пределах периодов. Это и есть то, что известно под названием "периодоанализа". Наряду с прочим этот метод помогает нам различить, каким образом процессы экспансии и сжатия исчерпывают себя из периода в период, и особенно помогает нам различить ту роль, которую играют отставания во времени.

Несмотря на то что метод периодоанализа связан с предположением о наличии перерыва, скачка из одного периода в последующий, он очень полезен в качестве педагогического приема, ибо, рассматривая процесс изменения с помощью этого метода, можно апеллировать к здравому смыслу. Мы привыкли к миру, в котором существуют явления трения и отставания, и нам не легко представить себе процесс изменения как беспрерывное движение, лишенное разрывов во времени. Метод сопоставления условий одного периода с условиями последующего привлекателен с точки зрения здравого смысла.

Теперь, после того как мы разбили интересующий нас промежуток времени на отдельные периоды, допустим, что потребительские расходы отстали на один период. Мы можем даже считать желательным измерить протяженность "периода" сроком отставания потребительских расходов. Если изменения объема потребления обнаруживают тенденцию отставать от изменений объема дохода на промежуток времени в один месяц, то мы можем считать желательным назвать "периодом" один месяц. Мы можем обозначить эти периоды цифрами 1,2,3 и тд.

Когда мы исходим из предположения, что потребительские расходы отстают на один месяц, то в этом случае потребление текущего периода будет зависеть от дохода предшествующего периода. Другими словами, текущее потребление С1 рассматривается как функция предшествующего дохода Y0, или C1 = Φ(Y0). Текущие сбережения S1 в этом случае определяются как разница между предшествующим доходом Y0 и текущим потреблением С1. Следовательно, S1 = Y0 - С1. Но текущий доход Y1 должен непременно равняться текущим потребительским расходам С, плюс текущие затраты на инвестирование I1; поэтому Y1 = I1 + С1. При таких предпосылках, т.е. тогда, когда проблема рассматривается в разрезе последовательных периодов времени, I1 будет равняться S1 только в том случае, если Y1 = Y0. Но если текущий доход Y1 превышает предшествующий доход Y0, тогда I1 > S1. Из всего этого должно быть ясно, что Y1 = Y0 + (I1 - S1) или что текущий доход Y1 будет превышать предшествующий доход Y0 на ту величину, на которую текущее инвестирование I1 превышает текущее сбережение S1 [См. сказанное в приложении к этой книге о периодоанализе системы Робертсона и о шведской системе периодоанализа.].

Под углом зрения периодоанализа инвестиции и сбережения могут не равняться друг другу. Если же, напротив, все категории (Y, С, I, S) определяются применительно к одному и тому же отрезку времени, то тогда сбережения и инвестиции непременно должны во всех случаях равняться друг другу, ибо при таких предпосылках обе величины являются попросту разностью между доходом и потреблением.

Рис. 43. Периодоанализ: ΔY = ΔI + ΔС

На рис. 43 мы показываем процесс образования дохода под углом зрения периодоанализа. Для удобства демонстрации модель в некоторых отношениях построена несколько произвольно. Мы предполагаем, во-первых, внезапную инъекцию крупной дозы инвестиций; и мы принимаем далее, что на протяжении значительного числа последующих периодов инвестирование, не ослабевая, продолжается точно в таком же объеме. Мы предполагаем, во-вторых, постоянную предельную склонность к. потреблению, равную 2/3. И наконец, мы предполагаем определенный интервал отставания потребления, равный одному "периоду".

Примем, например, что в Период 0 доход находился уже на уровне 70 млрд. долл. и что в этот период потребление равнялось доходу, так что здесь не существовало никакого инвестирования и никаких сбережений. Мы назовем это состояние "базисным уровнем потребления" или безубыточным пунктом. И вот в Период 1 объем инвестирования внезапно возрастает до 10 млрд. долл. и остается на таком уровне в течение значительного времени. Потребление будет теперь увеличиваться, но приспособление потребления к доходу будет происходить с отставанием, так как нами принято, что объем потребления данного периода всеща является функцией дохода предшествующего периода. Прирост потребления, совершающийся в любой период, всегда равен 2/3 прироста дохода, совершившегося в предшествующий период. Этот процесс будет продолжаться до тех пор, пока потребление не "догонит" доход или, другими словами, не достигнет нормального отношения к доходу. Таблица 19, на основании которой составлен рис. 43, показывает эту систему зависимостей и механизм замедленного приспособления.

Таблица 19

Период Y
(I+C)
I Прирост C по сравнению с предшествующим периодом Всего C (базисный объем плюс прирост)
0700070
180 10070
286,67106,6776,67
391,11104,4481,11
494,07102,9684,07
596,04101,9786,04
697,36101,3287,36
798,24100,8888,24
898,82 100,5888,82
999,20100,3889,20
Асимптота100,00100,0090,00

Рис. 43 показывает нам, каким образом инвестиции в сумме 10 млрд. долл. (при данной предельной склонности к потреблению в 2/3 и при отставании потребительских затрат на один период) постепенно приведут к увеличению дохода на 30 млрд. вследствие вызванного ими увеличения потребления на 20 млрд. долл. Если бы не существовало никакого отставания потребительских расходов во времени, если потребление сразу приспосабливалось бы на ходу к изменениям дохода, то уже в Период 1 объем дохода повысился бы с 70 до 100 млрд. долл. Но коль скоро принято, что существует отставание потребительских расходов во времени, то процесс увеличения дохода растягивается на несколько периодов.

Мультипликатор

Небольшой расчет даст нам возможность обнаружить, что чем выше бывает уровень предельной склонности к потреблению, тем больше тот множитель (мультипликатор), с которым будет увеличен доход. Обозначим мультипликатор через k. Тогда kΔI = ΔY. Числовое значение k, как мы уже предполагали раньше, изменяется с изменением предельной склонности к потреблению ΔC/ΔY. На рис. 43 мы видим, что в том случае, когда ΔC/ΔY= 2/3, мультипликатор равняется 3. Если предельная склонность к потреблению равнялась бы 1/2, то мультипликатор был бы равен 2. Следовательно,

Два определения понятия сбережения

Выше мы отметили два определения понятия сбережения. Одно из них — это определение, подсказываемое здравым смыслом; оно сводится к тому, что доход, получаемый в течение данного периода, находит себе применение в течение следующего периода. Подобное определение представляется совершенно естественным. И существуют два способа употребления дохода: его можно сберечь или истратить. Следовательно, Y0 = S1 + С1, или S1 = Y0 - С1 [ Таково так называемое "робертсоновское" определение понятия сбережения. См. Robertson D.H. Essay in Monetary Theory. P.S. King and Son. Ltd. L., 1940.].

Согласно второму определению (данному Кейнсом и принятому статистиками в области национального дохода), сбережение представляет собой ту часть текущего дохода, которая не расходуется в течение текущего периода. Стало быть, Y1 = S1 + С1.

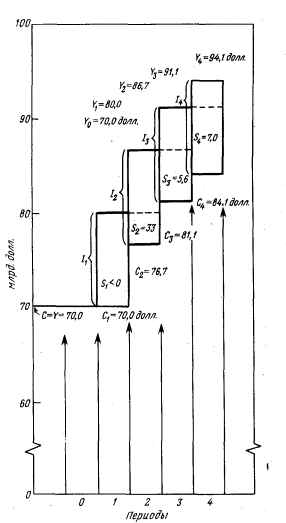
Посмотрим теперь, как можно применить эти два определения сбережения к ситуациям, изображенным на рис. 44. Чтобы выяснить это, нет необходимости обозреть все стадии, и мы сосредоточим свое внимание только на первых трех или четырех периодах. Мы увеличили диаграмму, представив ее в гораздо более крупных масштабах, чем на рис. 43, с тем чтобы более четко показать интересующие нас изменения, совершающиеся из периода в период.

Рис. 44. Периодоанализ: инвестирование и сбережение

Согласно определению Робертсона, S1 (Период 1) равно нулю, так как S1 = Y0 - С1. Это означает, что весь объем новых инвестиций I1, должен быть профинансирован за счет нового банковского кредита или посредством получения взаймы праздно лежащих капиталов. В Период 2, однако, S2 = Y1 - С2 = 3,3 млрд. долл.; в Период 3 S3 = Y2 - С3 = 5,6 млрд. долл. и в Период 4 S4 = Y3 - C4 = = 7,0 млрд. долл. Так постепенно, по мере того как доход увеличивается, сбережения (производимые каждый раз из возросшего дохода, полученного в предшествующий период) становятся все крупнее и крупнее; и в конечном счете за пределами Периода 9, когда достигается асимптотическая линия, сбережения достигают 10 млрд. долл., что соответствует объему производимых инвестиций. По мере нарастания сбережений, увеличивающихся с каждым периодом, уменьшается потребность в новых банковских кредитах или в новых праздно лежащих капиталах. В конечном итоге, когда I станет равно S (в смысле, придаваемом этому равенству определением Робертсона), будет достигнуто новое состояние равновесия; дальнейший рост дохода прекратится. Полный процесс действия мультипликатора исчерпывается.

Взглянем теперь на дело под углом зрения определения понятия сбережения, данного Кейнсом. В этом определении сбережение выступает перед нами как часть текущего дохода, не истраченная в текущий период на потребление: S1 = Y1 - C1. Рассмотрим сейчас Период 1. Y1 - С1 = 80 - 70 = 10 млрд. долл. Следовательно, S1 = I1.

Но ведь в действительности, как мы узнали раньше, для финансирования новых инвестиций были открыты новые банковские кредиты и использованы праздно лежавшие капиталы. Как же можно тогда говорить о том, что мы фактически имели здесь дело с некими новыми сбережениями, произведенными (в Период 1) из текущего дохода? Ответ на этот вопрос совершенно прост и реалистичен. Средства, полученные взаймы от банков, были в Период 1 фактически израсходованы на покупку новых капитальных благ и были получены в этот период производителями названных благ. Доход, полученный обществом в целом, возрос тем самым на 10 млрд. долл., и так как (вследствие отставания потребительских затрат от роста дохода) никто не тратил на потребительские товары больше, чем в Период 0, добавочный доход должен был принять форму сбережения. Новые депозиты, созданные банками, поступили к производителям в качестве дохода, и эти добавочные доллары были где-то заприходованы как сбережения, произведенные из текущего дохода. Таким образом, новые инвестиции (в соответствии с приведенным определением) были уравновешены сбережениями из текущего дохода, и, следовательно, I=S.

При стабильных ценах всякое увеличение реального дохода необходимым образом вызовет увеличение бессрочных вкладов (и денежного обращения) и (или) увеличение скорости обращения денег, другими словами, увеличение MV. Но вопрос о том, каким образом будет достигнут возросший объем денежных платежей — посредством ли увеличения денежной массы или посредством увеличения скорости обращения денег, — не имеет с точки зрения кейнсианского определения сбережения большого значения. Поток дохода — вот что имеет важное значение, и сбережения представляют собой ту часть текущего дохода, которая не расходуется на текущее потребление.

Фактические и нормальные сбережения

Но несмотря на то что фактические сбережения и инвестиции (по определению Кейнса) всегда равны друг другу, будет все же правильным считать, что фактические сбережения, равно как и фактическое потребление, не могут рассматриваться как нормальные до тех пор, пока в конечном счете не будет достигнуто новое равновесие, при котором I = S (в робертсоновском понимании этой формулы). Это вытекает из явления отставания потребительских расходов. До тех пор пока потребление не догнало доход, фактический размер сбережения (и, в обратном смысле, размер потребления) не есть его желаемый размер. Так что, несмотря на то что фактические сбережения и инвестиции (если взять их в кейнсианской трактовке) всегда равны друг другу, желаемые сбережения могут не совпадать с фактическими сбережениями. К тому времени, когда фактические сбережения совпадут с той суммой, которую люди желают сберечь из текущего дохода, отставание потребления уже исчезнет и потребление догонит доход. Когда фактические сбережения равняются желаемым сбережениям, тогда мы имеем право утверждать, что S = I в смысле равновесия, а не просто в смысле тождества. С точки зрения равновесия сбережения и инвестиции равняются друг другу тогда, когда процесс развертывания мультипликатора исчерпывается.

Сбережения и инвестиции были бы, однако, не просто равны, но и равны во все времена в смысле равновесия, если бы действие мультипликатора протекало мгновенно, другими словами, если бы не существовало никакого отставания потребительских расходов от доходов во времени. При анализе чистой функции потребления (рис. 41, график В) предполагается, что никакого отставания расходов не существует. Мультипликатор рассматривается здесь как мгновенно действующий, т.е. предполагается, что потребление всегда приспосабливается сразу к изменениям в текущем доходе. Такова чистая или логическая теория мультипликатора. Вопрос о том, существует ли в действительности или не существует отставание расходов (сам Кейнс полагает, что оно существует, хотя оно представляется ему кратковременным), не имеет значения для теории функции потребления или мультипликатора. После того как явление отставания расходов учтено, кривая чистой функции потребления показывает нам, каково нормальное отношение потребления к доходу. Она подобна "нормальной кривой кратковременных колебаний предложения". Если кривая спроса внезапно смещается вве